chevron_left
Menu
Turck
search
Loading
add_shopping_cart
Home
Products
person
Login
TW860-960-L44-18-P-B34-100PCS | TURCK - Your Global Automation Partner
arrow_back_ios
arrow_forward_ios
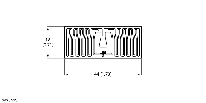
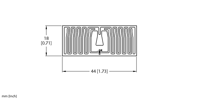
UHF Tag
TW860-960-L44-18-P-B34-100PCS
Order ID no. 100050384
home
Home
Loading...
Technical Data
Design
Smart Label
Region (UHF)
Global (860…960 MHz), ETSI (865…868 MHz), FCC (902…928 MHz)
Memory size
32
Memory type
EEPROM
EPC memory
12
Key Features
Memory size
32
Memory type
EEPROM
In Stock
Price Group
F1
List Price
€103.00
Item Total
€103.00
Quantity
−
+
add_shopping_cart
Add to Cart
home
Turck-Shop
Identification
Tags HF/UHF
TW860-960-L44-18-P-B34-100PCS
Contact Support